- Револьверные головки ПАРАТ
- Турель СРД
- Турель РД
- Держатель смены PARAT
- Специальный держатель мелочи
- Зажимные втулки ПАРАТ
- шланг охлаждающей жидкости
- Полые упоры шпинделя
- Сборочные услуги
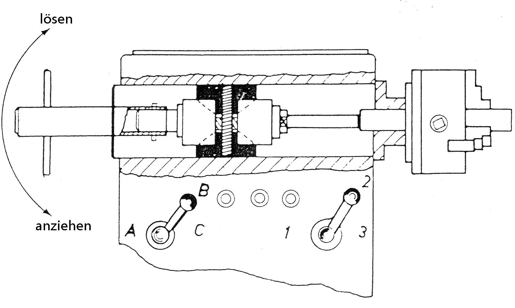
Полый стопор шпинделя
Надежная и прочная фиксация.
Быстрая регулировка с помощью длинного специального ключа.
Зазор шпинделя от 16,4 мм до 155 мм.
Полые упоры шпинделя необходимы для каждого токарного станка. Они обеспечивают желаемую остановку главного шпинделя при работе с токарным патроном и поэтому являются проверенным и надежным вспомогательным инструментом для эффективного производства.
Упор вставляется в главный шпиндель сзади и затягивается в нужное положение с помощью специального ключа. Зажимные губки упора раздвигаются, что приводит к надежное и прочное удержание упора в шпинделе.
Полый упор шпинделя для токарных станков
| Тип | Диапазон регулировки | Длина ключа | ||
|---|---|---|---|---|
| 0 | от 16,4 до 18 мм | 540 мм | ||
| 1 | от 19 до 23 мм | 540 мм | ||
| 2 | от 22 до 26 мм | 540 мм | ||
| 3 | от 25 до 31 мм | 540 мм | ||
| 4 | от 30 до 38 мм | 640 мм | ||
| 5 | от 38 до 48 мм | 640 мм | ||
| 6 | от 46 до 58 мм | 740 мм | ||
| 7 | от 56 до 66 мм | 740 мм | ||
| 8 | от 64 до 81 мм | 940 мм | ||
| 9 | от 79 до 91 мм | 940 мм | ||
| 10 | от 90 до 110 мм | 940 мм | ||
| 11 | от 110 до 130 мм | 940 мм | 
 
  
 
  
  
 




